Les cookies nous permettent d'offrir nos services. En utilisant nos services, vous acceptez notre utilisation des cookies.
- Accueil /
- Façade /
- Bardage thermowood /
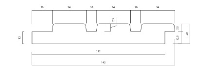
- Thermowood Triple Ayous 4200x142x20 (nuttig 132mm)
GRATIS Dampscherm bij aankoop van 100m² KNAUF Multifit Glaswol!
